您好,欢迎启东市神舟润滑设备制造有限公司!

全国服务热线:0513-83227070

子页面大图广告
启东市神舟润滑设备制造有限公司

地址:启东市惠萍镇西侧工业园区

电话:0513-83227070
    0513-83797070

传真:0513-83223806

手机:13016796801
    13584729328

您当前的位置:首页 >> 管接头、高压胶管总成... >> 法兰
 
法兰

 加入时间:2018-5-22 9:37:14  

● 高压法兰

 

代号
(订货号)

管子外径
(D0)

D+0.4
+0.2

e

A

B

C

d

“O”型密封圈
GB1235-76

对应号

ZY438.1.00

22

22.5

11

63

40±0.1

22

11

30×3.1

CRGT11-1

ZY438.2.00

28

28.5

11

70

45±0.1

22

11

35×3.1

CRGT11-2

ZY438.3.00

34

34.5

14

80

53±0.1

28

13

35×3.1

YF03.1或CRGT11-3

ZY438.4.00

42

42.5

14

90

63±0.1

28

13

45×3.1

YF03.2或CRGT11-4

ZY438.5.00

48

48.5

18

100

70±0.2

36

18

55×3.1

YF03.3或CRGT11-5

ZY438.6.00

60

61

18

112

80±0.2

36

18

65×3.1

YF03.4或CRGT11-6

ZY438.7.00

76

78

24

140

100±0.2

45

24

75×3.1

CRGT11-7

ZY438.8.00

89

91

24

160

112±0.2

45

24

90×3.1

CRGT11-8

 标记示例:高压法兰34 ZY438.3.00或高压法兰34 CRGT11-3

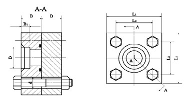
● 终端法兰

代号
(订货号)

管子外径
(D0)

D+0.4
+0.2

L1

L2

B

B1

“O”型密封圈
GB1235-76

d

重量
(kg)

对应号

ZY624.1.00

34

34.5

80

53

28

14

35×3.1

14

2.89

YF04.1

ZY624.2.00

42

42.5

90

63

16

45×3.1

16

3.45

YF04.2

ZY624.3.00

48

48.5

100

70

36

18

55×3.1

18

5.78

YF04.3

ZY624.4.00

60

61

112

80

20

65×3.1

18

6.72

YF04.4

标记示例:终端法兰34 ZY624.1.00