您好,欢迎启东市神舟润滑设备制造有限公司!

全国服务热线:0513-83227070

子页面大图广告
启东市神舟润滑设备制造有限公司

地址:启东市惠萍镇西侧工业园区

电话:0513-83227070
    0513-83797070

传真:0513-83223806

手机:13016796801
    13584729328

您当前的位置:首页 >> 压力操纵控制换向阀... >> YZF-L4(PV-2E)压力操纵阀
 
YZF-L4(PV-2E)压力操纵阀

 加入时间:2018-5-24 10:42:10  

一、概述
      YZF-L4型压力操纵阀,是一种利用压差信号通过机械传动转化为电信号的发讯装置。用于电动终端式干油集中润滑系统中,安装于两条供油主管的末端,当主管供油时的末端压力超过该阀的设定压力时,该阀动作向电控柜发出信号,由电磁换向阀实现两条供油主管的交替供油,该阀发送信号正确,可靠,设定压力可以调整。
 


二、技术参数

型    号

公称压力
MPa

调定压力
MPa

压力调整范围
MPa

损失量
mL

重量
kg

标准型号

引进型号

YZF-L4

PV-2E

20

4

3~6

1.5

8.2

三、型号

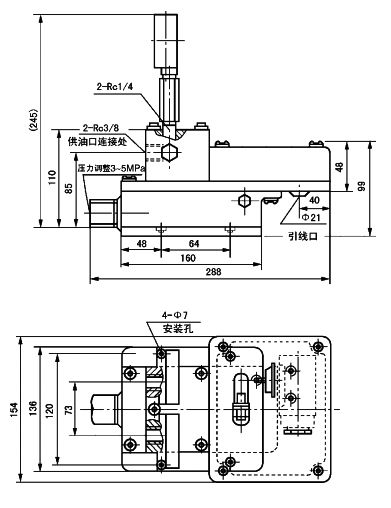
四、外形尺寸

五、使用说明
     1、安装在终端式系统的二条供油主管末端。
     2、压力控制阀之后应再安装一个分配器,使阀内的润滑脂得到更新。
     3、阀后的分配器从阀体的压力表接口处加装内接头和三通引出。
     4、调整螺丝右旋设定压力调低, 左旋调高。