您好,欢迎启东市神舟润滑设备制造有限公司!

全国服务热线:0513-83227070

子页面大图广告
启东市神舟润滑设备制造有限公司

地址:启东市惠萍镇西侧工业园区

电话:0513-83227070
    0513-83797070

传真:0513-83223806

手机:13016796801
    13584729328

您当前的位置:首页 >> 压力操纵控制换向阀... >> YKQ压力控制器(YLZ压力指示器)
 
YKQ压力控制器(YLZ压力指示器)

 加入时间:2018-5-24 10:49:44  

一、概述
  YKQ型压力控制器适用于干油集中润滑系统中,安装在主管道前端或末端,检查主管道内压力情况,当主管道内压力达到设定值时,向电控箱发出电信号,控制换向阀换向或监视润滑系统工作情况。

二、技术参数

型  号

公称压力
MPa

工作压力
MPa

适用电源
V

重量
Kg

YKQ-105

10

10±5%

~220

1.5

YKQ-205

20

20±5%

YKQ-320

31.5

31.5±5%

YKQ-405

40

40 ±5%

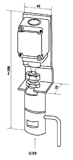
三、外形尺寸


 



 

四、使用说明

  拧开上端锁紧螺母,然后调整螺塞的位置即可调整发讯压力值,调整后仍锁紧上端螺母。